Rabbit 4000 Microprocessor
User's Manual
PREV INDEX NEXT


13. Timer A

13.1 Overview

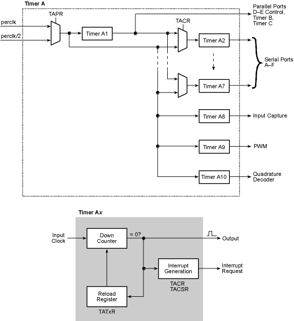
The Timer A peripheral consists of ten separate eight-bit countdown timers, A1–A10. Each counter counts down from a programmed time constant, which is automatically reloaded into the respective counter when the count reaches zero. For example, if the reload register contains 127, then 128 pulses enter on the left before a pulse exits on the right (see Figure 13-1). If the reload register contains zero, then each pulse on the left results in a pulse on the right, that is, there is division by one. The reload register can contain any number in the range from 0 to 255. The counter divides by (n + 1).


Figure 13-1. Reload Register Operation

For Timers A1–A7 the terminal count condition is reported in a status register and can be programmed to generate an interrupt. Six of these seven timers (A2–A7) have the option of being cascaded from Timer A1, but the primary clock for all of the timers is the peripheral clock either directly or divided by 2 (the default). The output pulses are always one clock wide. Clocking of the timers takes place on the negative edge of this pulse. When the counter reaches zero, the reload register is loaded into the counter on the next input pulse instead of a count being performed.

Timers A2–A7 can be used to generate baud rates for Serial Ports A–F, or they can be used as general-purpose timers if the dedicated timers on the Rabbit 4000 serial ports are used. The three remaining timers (A8–A10) serve as prescalers for the input capture, PWM, and quadrature decoder peripherals respectively. The peripherals clocked by these timers can generate interrupts but the timers themselves cannot. Furthermore, these timers cannot be cascaded with Timer A1.

The individual Timer A capabilities are summarized in the table below. There is a bit in the control/status register to disable all ten timers globally.

Timer

Cascade from A1

Interrupt

Associated Peripheral

A1
No
Yes
Parallel Ports D–E, Timer B
A2
Yes
Yes
Serial Port E
A3
Yes
Yes
Serial Port F
A4
Yes
Yes
Serial Port A
A5
Yes
Yes
Serial Port B
A6
Yes
Yes
Serial Port C
A7
Yes
Yes
Serial Port D
A8
No
No
Input Capture
A9
No
No
Pulse-Width Modulator
A10
No
No
Quadrature Decoder


There is one interrupt vector for Timer A and a common interrupt priority. A common status register (TACSR) has bits for timers A1–A7 that indicate if the output pulse for that timer has taken place since the last read of the status register. These bits are cleared when the status register is read. No bit will be lost. Either it will be read by the status register read or it will be set after the status register read is complete. If a bit is on and the corresponding interrupt is enabled, an interrupt will occur when priorities allow. However, a separate interrupt is not guaranteed for each bit with an enabled interrupt. If the bit is read in the status register, it is cleared and no further interrupt corresponding to that bit will be requested. It is possible that one bit will cause an interrupt, and then one or more additional bits will be set before the status register is read. After these bits are cleared, they cannot cause an interrupt. The proper rule to follow is for the interrupt routine to handle all bits that it sees set.

13.1.1 Block Diagram


13.1.2 Registers

Register Name

Mnemonic

I/O Address

R/W

Reset

Timer A Control/Status Register
TACSR
0x00A0
R/W
00000000
Timer A Prescale Register
TAPR
0x00A1
R/W
xxxxxxx1
Timer A Time Constant 1 Register
TAT1R
0x00A3
R/W
xxxxxxxx
Timer A Control Register
TACR
0x00A4
R/W
00000000
Timer A Time Constant 2 Register
TAT2R
0x00A5
R/W
xxxxxxxx
Timer A Time Constant 8 Register
TAT8R
0x00A6
R/W
xxxxxxxx
Timer A Time Constant 3 Register
TAT3R
0x00A7
R/W
xxxxxxxx
Timer A Time Constant 9 Register
TAT9R
0x00A8
R/W
xxxxxxxx
Timer A Time Constant 4 Register
TAT4R
0x00A9
R/W
xxxxxxxx
Timer A Time Constant 10 Register
TAT10R
0x00AA
R/W
xxxxxxxx
Timer A Time Constant 5 Register
TAT5R
0x00AB
R/W
xxxxxxxx
Timer A Time Constant 6 Register
TAT6R
0x00AD
R/W
xxxxxxxx
Timer A Time Constant 7 Register
TAT7R
0x00AF
R/W
xxxxxxxx


13.2 Dependencies

13.2.1 I/O Pins

The output of Timer A does not come out directly on any of the I/O pins. It can be used to control when the output occurs on Parallel Ports D–E, and can affect the output times of Serial Ports A–F and the PWM.

13.2.2 Clocks

The timers in Timer A can be clocked by either perclk or perclk/2, as selected in TAPR. In addition, timers A2–A7 can be clocked by the output of timer A1 by selecting that option in TACSR.

13.2.3 Other Registers

Register

Function

GCSR
Select peripheral clock mode.


13.2.4 Interrupts

A Timer A interrupt can be generated whenever timers A1–A7 decrement to zero by enabling the appropriate bit in TACSR. The interrupt request is cleared when TACSR is read.

The Timer A interrupt vector is in the IIR at offset 0x0A0. It can be set as priority 1, 2, or 3 in TACR.

13.3 Operation

The following steps explain how to set up a Timer A timer.

  1. Select perclk as the Timer A input clock in TAPR (default is perclk/2).

  2. Select the source clocks for timers A2–A7 in TACR.

  3. Write the desired divider value to TATxR for all timers that will be used.

  4. Enable Timer A by writing a 1 to bit 0 of TACSR.

13.3.1 Handling Interrupts

The following steps explain how an interrupt is set up and used. Remember to set up the interrrupt vector before you enable the interrupts.

  1. Write the vector of the interrupt service routine to the internal interrupt table.

  2. Configure TACSR to select which timers will generate an interrupt.

  3. Configure TACR to select the interrupt priority (note that interrupts will be enabled once this value is set). This should be done last.

The interrupt request is cleared by reading from TACSR.

13.3.2 Example ISR

A sample interrupt handler is shown below.

13.4 Register Descriptions

Timer A Control/Status Register (TACSR) (Address = 0x00A0)

Bit(s)

Value

Description

7:1
0
The corresponding Timer A counter has not reached its terminal count.
(Read-only)
1
The corresponding Timer A counter has reached its terminal count. These status bits (not the interrupt enable bits) are cleared by the read of this register, as is the Timer A interrupt.
7:1
0
The corresponding Timer A interrupt is disabled.
(Write-only)
1
The corresponding Timer A interrupt is enabled.
0
0
The main clock for Timer A is disabled.
1
The main clock for Timer A (perclk) is enabled.


Timer A Prescale Register (TAPR) (Address = 0x00A1)

Bit(s)

Value

Description

7:1
These bits are reserved and should be written with zero.
0
0
The main clock for Timer A is the peripheral clock (perclk).
1
The main clock for Timer A is the peripheral clock divided by two (perclk/2).


Timer A Control Register (TACR) (Address = 0x00A4)

Bit(s)

Value

Description

7
0
Timer A7 clocked by the main Timer A clock.
1
Timer A7 clocked by the output of Timer A1.
6
0
Timer A6 clocked by the main Timer A clock.
1
Timer A6 clocked by the output of Timer A1.
5
0
Timer A5 clocked by the main Timer A clock.
1
Timer A5 clocked by the output of Timer A1.
4
0
Timer A4 clocked by the main Timer A clock.
1
Timer A4 clocked by the output of Timer A1.
3
0
Timer A3 clocked by the main Timer A clock.
1
Timer A3 clocked by the output of Timer A1.
2
0
Timer A2 clocked by the main Timer A clock.
1
Timer A2 clocked by the output of Timer A1.
1:0
00
Timer A interrupts are disabled.
01
Timer A interrupt use Interrupt Priority 1.
10
Timer A interrupt use Interrupt Priority 2.
11
Timer A interrupt use Interrupt Priority 3.


Timer A Time Constant x Register (TAT1R) (Address = 0x00A3)
(TAT2R) (Address = 0x00A5
(TAT3R) (Address = 0x00A7))
(TAT4R) (Address = 0x00A9)
(TAT5R) (Address = 0x00AB)
(TAT6R) (Address = 0x00AD)
(TAT7R) (Address = 0x00AF)
(TAT8R) (Address = 0x00A6)
(TAT9R) (Address = 0x00A8)
(TAT10R) (Address = 0x00AA)

Bit(s)

Value

Description

7:0
Time constant for the Timer A counter. This time constant will take effect the next time that the Timer A counter counts down to zero. The timer counts modulo n + 1, where n is the programmed time constant.


Global Control/Status Register (GCSR) (Address = 0x0000)

Bit(s)

Value

Description

4:2
000
Processor clock from the main clock, divided by eight.
Peripheral clock from the main clock, divided by eight.
001
Processor clock from the main clock, divided by eight.
Peripheral clock from the main clock.
010
Processor clock from the main clock.
Peripheral clock from the main clock.
011
Processor clock from the main clock, divided by two.
Peripheral clock from the main clock, divided by two.
100
Processor clock from the 32 kHz clock, optionally divided via GPSCR.
Peripheral clock from the 32 kHz clock, optionally divided via GPSCR.
101
Processor clock from the 32 kHz clock, optionally divided via GPSCR.
Peripheral clock from the 32 kHz clock, optionally divided via GPSCR.
The fast clock is disabled.
110
Processor clock from the main clock, divided by four.
Peripheral clock from the main clock, divided by four.
111
Processor clock from the main clock, divided by six.
Peripheral clock from the main clock, divided by six.



Rabbit Semiconductor
www.rabbit.com
PREV INDEX NEXT