Rabbit 4000 Microprocessor
User's Manual
PREV INDEX NEXT


17. Serial Ports E – F

17.1 Overview

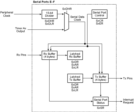
Serial Ports E and F are identical to each other, and their asynchronous operation is identical to that of Serial Ports A – D except for the source of the data clock, the buffer sizes, and the transmit, receive, and clock pins. Each serial port can be used in the asynchronous or the HDLC mode with an internal or external clock.

In the asynchronous mode, either 7 or 8 data bits can be transferred, and both a parity bit and/or an additional address (0) or long stop (1) bit can be appended as well. Parity and the address/long stop bits are also detected when they are received. The asynchronous mode is full-duplex.

The transmit and receive buffers of Serial Ports E and F have 4 bytes each; this reduces the interrupt overhead requirements. A serial port interrupt is generated whenever at least one byte is available in the receive buffer or whenever a byte is shifted out of the transmit buffer. The byte is available in the buffer after the final bit is sampled.

The status of each serial port is available in the Serial Port Status Registers (SxSR), and contains information on whether a received byte is available, the receive buffer was overrun, a parity error was received, and the transmit buffer is empty or busy sending a byte. The status is updated when the final bit of a received byte is sampled, or when the final bit of a transmitted byte is sent out.

Serial Ports E and F support the HDLC mode with either an internal or an external clock; separate pins may be used for the transmit and receive clocks, or the transmit and receive clocks may be combined onto a single pin. The HDLC packet flag encapsulation, flag escapes, and CRC calculation and check are handled automatically by the processor. The serial port can detect end-of-frame, short-frame, and CRC errors. Interrupts are generated by the reception of an end-of-frame, at the end of a transmission of a CRC, by an abort sequence, or by a closing flag. Transmit and receive operations are essentially automatic.

The standard CRC-CCITT polynomial (x16 + x12 + x5 + 1) is implemented for the CRC, with the generator and checker preset to all ones.

It is possible to send packets with or without a CRC appended. It is also possible to select whether an abort or flag will be transmitted if the transmitter underflows. A packet under transition can be aborted and the abort pattern sent. The idle condition of the line can be flags or all ones.

Several types of data encoding are available in HDLC mode: NRZ, NRZI, biphase-level (Manchester), biphase-space (FM0), and biphase-mark (FM1). IrDA-compliant RZI encoding is also available in HDLC mode; it reduces the bit widths to ¼ the normal width, which allows the serial-port signal to be connected directly to an IrDA transceiver.

If an internal clock is selected, the serial port data clocks can be generated from the appropriate 8-bit timer (Timer A2 for Serial Port E and Timer A3 for Serial Port F) or from a dedicated 15-bit divider. In HDLC mode, the byte data rate is equal to the data clock rate divided by 16.

When using an external clock, a 1× (same speed as the data rate) clock is supported. In this case, the maximum data rate is 1/6 of the peripheral clock rate. The receive clock is generated from the transitions in the data stream via a digital phase-locked loop (DPLL). The timing of this synchronization is adjusted with each incoming transition, allowing for tracking if the two external clocks differ slightly in frequency. For more on the clock synchronization and data encoding, see Section 17.3.3.

17.1.1 Block Diagram



17.1.2 Registers

Register Name

Mnemonic

I/O Address

R/W

Reset

Serial Port E Data Register
SEDR
0x00C8
R/W
xxxxxxxx
Serial Port E Address Register
SEAR
0x00C9
W
xxxxxxxx
Serial Port E Long Stop Register
SELR
0x00CA
W
xxxxxxxx
Serial Port E Status Register
SESR
0x00CB
R
0xx00000
Serial Port E Control Register
SECR
0x00CC
R/W
xx000000
Serial Port E Extended Register
SEER
0x00CD
R/W
00000000
Serial Port E Divider Low Register
SEDLR
0x00CE
R/W
xxxxxxxx
Serial Port E Divider High Register
SEDHR
0x00CF
R/W
0xxxxxxx
Serial Port F Data Register
SFDR
0x00D8
R/W
xxxxxxxx
Serial Port F Address Register
SFAR
0x00D9
W
xxxxxxxx
Serial Port F Long Stop Register
SFLR
0x00DA
W
xxxxxxxx
Serial Port F Status Register
SFSR
0x00DB
R
0xx00000
Serial Port F Control Register
SFCR
0x00DC
R/W
xx000000
Serial Port F Extended Register
SFER
0x00DD
R/W
00000000
Serial Port F Divider Low Register
SFDLR
0x00DE
R/W
xxxxxxxx
Serial Port F Divider High Register
SFDHR
0x00DF
R/W
0xxxxxxx


17.2 Dependencies

17.2.1 I/O Pins

Serial Port E can transmit on parallel port pins PC6, PD6, or PE6, and can receive on pins PC7, PD7, or PE7. If the HDLC mode is enabled, the transmit serial clock is either transmitted or received on PC4, PD4, or PE4, while the receive serial clock is either transmitted or received on PC5, PD5, or PE5.

Serial Port F can transmit on parallel port pins PC2, PD2, or PE2, and can receive on pins PC3, PD3, or PE3. If the HDLC mode is enabled, the transmit serial clock is either transmitted or received on PC0, PD0, or PE0, while the receive serial clock is either transmitted or received on PC1, PD1, or PE1.

Table 17-1. Serial Ports E and F Pin Usage

Function

Serial Port E

Serial Port F

Transmit
PC6, PD6, PE6
PC2, PD2, PE2
Receive
PC7, PD7, PE7
PC3, PD3, PE3
Transmit Clock
PC4, PD4, PE4
PC0, PD0, PE0
Receive Clock
PC5, PD5, PE5
PC1, PD1, PE1

17.2.2 Clocks

The data clocks for Serial Ports E – F are based on the peripheral clock and divided by either a Timer A divider or a dedicated 15-bit divider. In either case, the overall clock divider will be the value in the appropriate register plus one.

17.2.3 Other Registers

Register

Function

TAT2R
Time constant for Serial Port E
TAT3R
Time constant for Serial Port F
PCFR, PCAHR, PCALR
PDFR, PDAHR, PDALR
PEFR, PEAHR, PEALR
Alternate port output selection


17.2.4 Interrupts

In the asynchronous mode, a serial port interrupt can be generated whenever a byte is available in the receive buffer or when a byte is finished being transmitted out of the transmit buffer. In the HDLC mode, interrupts are also generated by the reception of an end-of-frame (with abort, valid CRC, or CRC error), at the end of a transmission of a CRC, by an abort sequence, or by a closing flag.

The serial port interrupt vectors are located in the IIR as follows.

Each of them can be set as Priority 1, 2, or 3 in SxCR, where x is E – F for the two serial ports.

17.3 Operation

17.3.1 Asynchronous Mode

The steps to set up Serial Ports E – F for asynchronous operation are identical to those described in Section 16.3.1 to set up Serial Ports A – D.

17.3.2 HDLC Mode

The following steps explain how to set up Serial Ports E – F for the HDLC mode. When the internal clock is selected, the Rabbit 4000 is in control of all transmit and receive operations, so an interrupt is not required. When an external clock is selected, operations can be handled by either polling the status byte or by a serial port interrupt; the performance will be better with an interrupt.

  1. Write the interrupt vector for the interrupt service routine to the internal interrupt table.

  2. Set up the desired data transmit and clock pins by writing to the appropriate parallel port function register (PxFR) and alternate output register (PxALR or PxAHR).

  3. Select the appropriate mode by writing to SxCR (receive input port and clock source). Also select the interrupt priority.

  4. Select additional options by writing to SxER (data encoding, idle line condition, underrun behavior, and combined or separate clocks).

  5. Write the desired divider value to TATxR for the appropriate serial port, or else write a divider to the dedicated 15-bit divider in SxDLR and SxDHR. If the dedicated divider is to be used, write a 1 to the most-significant bit of SxDHR to enable it. In either case, the overall clock divider will be the value in the appropriate register plus one.

  6. To start transmission of a packet, write the first byte to SxDR. If internal clock is selected, the transmission will begin immediately; if an external clock is selected the transmission will begin when the clock is detected.

  7. Continue writing bytes when space is available in the transmit buffer until the final byte of the packet. If a CRC is to be appended to the packet, write the final byte to SxAR. If no CRC is required, write the final byte to SxLR and just a closing flag will be appended. If it is desirable to abort the current packet, write 11 to bits 6–7 of SxCR, and an abort pattern will be transmitted.

  8. The receiver will be synchronized on flag bytes and will reset the CRC. By monitoring the received bytes, decisions can be made about the incoming packet; if it is not desired (i.e., it is not addressed to this device), writing a 01 to bits 6–7 of SxCR will force the receiver back into the flag search mode.

A sample HDLC interrupt handler is shown below for Serial Port E.

17.3.3 More on Clock Synchronization and Data Encoding

The transmitter is not capable of sending an arbitrary number of bits, but only a multiple of bytes. However, the receiver can receive frames of any bit length. If the last "byte" in the frame is not eight bits, the receiver sets a status flag that is buffered along with this last byte. Software can then use the table below to determine the number of valid data bits in this last "byte." Note that the receiver transfers all bits between the opening and closing flags, except for the inserted zeros, to the receiver data buffer.

Last Byte Bit Pattern

Valid Data Bits

bbbbbbb0
7
bbbbbb01
6
bbbbb011
5
bbbb0111
4
bbb01111
3
bb011111
2
b0111111
1


Several types of data encoding are available in the HDLC mode. In addition to the normal NRZ, they are NRZI, biphase-level (Manchester), biphase-space (FM0), and biphase-mark (FM1). Examples of these encodings are shown below. Note that the signal level does not convey information in NRZI, biphase-space, and biphase-mark. Instead it is the placement of the transitions that determine the data. In biphase-level it is the polarity of the transition that determines the data.


Figure 17-1. Examples of Data Encoding In the HDLC Mode

In the HDLC mode the internal clock comes from the output of Timer A2/Timer A3 or the dedicated divider. The timer/divider output is divided by 16 to form the transmit clock, and is fed to the digital phase-locked loop (DPLL) to form the receive clock. The DPLL is basically just a divide-by-16 counter that uses the timing of the transitions on the receive data stream to adjust its count. The DPLL adjusts the count so that the DPLL output will be properly placed in the bit cells to sample the receive data. To work properly, then, transitions are required in the receive data stream. NRZ data encoding does not guarantee transitions in all cases (a long string of zeros, for example), but the other data encodings do. NRZI guarantees transitions because of the inserted zeros, and the biphase encodings all have at least one transition per bit cell.

The DPLL counter normally counts by 16, but if a transition occurs earlier or later than expected, the count will be modified during the next count cycle. If the transition occurs earlier than expected, it means that the bit cell boundaries are early with respect to the DPLL-tracked bit-cell boundaries, so the count is shortened by either one or two counts. If the transition occurs later than expected, it means that the bit-cell boundaries are late with respect to the DPLL-tracked bit-cell boundaries, so the count is lengthened by either one or two counts. The decision to adjust by one or by two depends on how far off the DPLL-tracked bit cell boundaries are. This tracking allows for minor differences in the transmit and receive clock frequencies.

With NRZ and NRZI data encoding, the DPLL counter runs continuously, and adjusts after every receive data transition. Since NRZ encoding does not guarantee a minimum density of transitions, the difference between the sending data rate and the DPLL output clock rate must be very small, and depends on the longest possible run of zeros in the received frame. NRZI encoding guarantees at least one transition every six bits (with the inserted zeros). Since the DPLL can adjust by two counts every bit cell, the maximum difference between the sending data rate and the DPLL output clock rate is 1/48 (~2%).

With biphase data encoding (either biphase-level, biphase-mark, or biphase-space), the DPLL runs only as long as transitions are present in the receive data stream. Two consecutive missed transitions causes the DPLL to halt operation and wait for the next available transition. This mode of operation is necessary because it is possible for the DPLL to lock onto the optional transitions in the receive data stream. Since they are optional, they will eventually not be present, and the DPLL can attempt to lock onto the required transitions. Since the DPLL can adjust by one count every bit cell, the maximum difference between the sending data rate and the DPLL output clock rate is 1/16 (~6%).

With biphase data encoding, the DPLL is designed to work in multiple-access conditions where there might not be flags on an idle line. The DPLL will generate an output clock correctly based on the first transition in the leading zero of an opening flag. Similarly, only the completion of the closing flag is necessary for the DPLL to provide the extra two clocks to the receiver to assemble the data correctly. The transition is specified as follows.

Figure 17-2 shows the adjustment ranges and output clock for the different modes of operation of the DPLL. Each mode of operation will be described in turn.


Figure 17-2. Adjustment Ranges and Output Clock for Different DPLL Modes

With NRZ and NRZI encoding, all transitions occur on bit-cell boundaries and the data should be sampled in the middle of the bit cell. If a transition occurs after the expected bit-cell boundary (but before the midpoint), the DPLL needs to lengthen the count to line up the bit-cell boundaries. This corresponds to the "add one" and "add two" regions shown. If a transition occurs before the bit-cell boundary (but after the midpoint), the DPLL needs to shorten the count to line up the bit-cell boundaries. This corresponds to the "subtract one" and "subtract two" regions shown. The DPLL makes no adjustment if the bit-cell boundaries are lined up within one count of the divide-by-16 counter. The regions that adjust the count by two allow the DPLL to synchronize faster to the data stream when starting up.

With biphase-level encoding, there is a guaranteed "clock" transition at the center of every bit cell and optional "data" transitions occur at the bit cell boundaries. The DPLL only uses the clock transitions to track the bit-cell boundaries by ignoring all transitions occurring outside a window around the center of the bit cell. This window is half a bit cell wide. Additionally, because the clock transitions are guaranteed, the DPLL requires that they always be present. If no transition is found in the window around the center of the bit cell for two successive bit cells, the DPLL is not in lock and immediately enters the search mode. The search mode assumes that the next transition seen is a clock transition and immediately synchronizes to this transition. No clock output is provided to the receiver during the search operation. Decoding biphase-level data requires that the data be sampled at either the quarter or three-quarter point in the bit cell. The DPLL here uses the quarter point to sample the data.

Biphase-mark encoding and biphase-space encoding are identical as far as the DPLL is concerned, and are similar to biphase-level encoding. The primary difference is the placement of the clock and data transitions. With these encodings the clock transitions are at the bit-cell boundary, the data transitions are at the center of the bit cell, and the DPLL operation is adjusted accordingly. Decoding biphase-mark or biphase-space encoding requires that the data be sampled by both edges of the recovered receive clock.

17.4 Register Descriptions

Serial Port x Data Register (SEDR) (Address = 0x00C8)
(SFDR) (Address = 0x00D8)

Bit(s)

Value

Description

7:0
Read
Returns the contents of the receive buffer.
Write
Loads the transmit buffer with a data byte for transmission.


Serial Port x Address Register (SEAR) (Address = 0x00C8)
(SFAR) (Address = 0x00D8)

Bit(s)

Value

Description

7:0
Read
Returns the contents of the receive buffer.
Write
Loads the transmit buffer with an address byte, marked with a "zero" address bit, for transmission. In the HDLC mode, the last byte of a frame must be written to this register to enable subsequent CRC and closing flag transmission.


Serial Port x Long Stop Register (SELR) (Address = 0x00C8)
(SFLR) (Address = 0x00D8)

Bit(s)

Value

Description

7:0
Read
Returns the contents of the receive buffer.
Write
Loads the transmit buffer with an address byte, marked with a "one" address bit, for transmission.


Serial Port x Status Register (SESR) (Address = 0x00CB)
(Asynchronous Mode Only) (SFSR) (Address = 0x00DB)

Bit(s)

Value

Description

7
0
The receive data register is empty
1
There is a byte in the receive buffer. The serial port will request an interrupt while this bit is set. The interrupt is cleared when the receive buffer is empty.
6
0
The byte in the receive buffer is data, received with a valid stop bit.
1
The byte in the receive buffer is an address, or a byte with a framing error. If an address bit is not expected, and the data in the buffer is all zeros, this is a break.
5
0
The receive buffer was not overrun.
1
The receive buffer was overrun. This bit is cleared by reading the receive buffer.
4
0
The byte in the receive buffer has no parity error (or was not checked for parity).
1
The byte in the receive buffer had a parity error.
3
0
The transmit buffer is empty.
1
The transmit buffer is not empty. The serial port will request an interrupt when the transmitter takes a byte from the transmit buffer. Transmit interrupts are cleared when the transmit buffer is written, or any value (which will be ignored) is written to this register.
2
0
The transmitter is idle.
1
The transmitter is sending a byte. An interrupt is generated when the transmitter clears this bit, which occurs only if the transmitter is ready to start sending another byte and the transmit buffer is empty.
1:0
00
These bits are always zero in async mode.


Serial Port x Status Register (SESR) (Address = 0x00CB)
(HDLC Mode Only) (SFSR) (Address = 0x00DB)

Bit(s)

Value

Description

7
0
The receive data register is empty
1
There is a byte in the receive buffer. The serial port will request an interrupt while this bit is set. The interrupt is cleared when the receive buffer is empty.
6,4
00
The byte in the receive buffer is data.
01
The byte in the receive buffer was followed by an abort.
10
The byte in the receive buffer is the last in the frame, with valid CRC.
11
The byte in the receive buffer is the last in the frame, with a CRC error.
5
0
The receive buffer was not overrun.
1
The receive buffer was overrun. This bit is cleared by reading the receive buffer.
3
0
The transmit buffer is empty.
1
The transmit buffer is not empty. The serial port will request an interrupt when the transmitter takes a byte from the transmit buffer, unless the byte is marked as the last in the frame. Transmit interrupts are cleared when the transmit buffer is written, or when any value (which will be ignored) is written to this register.
2:1
00
Transmit interrupt due to buffer empty condition.
01
Transmitter finished sending CRC. An interrupt is generated at the end of the CRC transmission. Data written in response to this interrupt will cause only one flag to be transmitted between frames, and no interrupt will be generated by this flag.
10
Transmitter finished sending an abort. An interrupt is generated at the end of an abort transmission.
11
The transmitter finished sending a closing flag. Data written in response to this interrupt will cause at least two flags to be transmitted between frames.
0
0
The byte in the receiver buffer is 8 bits.
1
The byte in the receiver buffer is less than 8 bits.


Serial Port x Control Register (SECR) (Address = 0x00CC)
(SFCR) (Address = 0x00DC)

Bit(s)

Value

Description

7:6
00
No operation. These bits are ignored in the asynchronous mode.
01
In HDLC mode, force receiver in flag search mode.
10
No operation.
11
In HDLC mode, transmit an abort pattern.
5:4
00
Parallel Port C is used for data (and optional clock) input.
01
Parallel Port D is used for data (and optional clock) input.
10
Parallel Port E is used for data (and optional clock) input.
11
Disable the receiver data input. Clocks from Parallel Port E.
3:2
00
Asynchronous mode with 8 bits per character.
01
Asynchronous mode with 7 bits per character. In this mode the most significant bit of a byte is ignored for transmit, and is always zero in receive data.
10
HDLC mode with external clock. The external clocks are supplied via parallel port pins.
11
HDLC mode with internal clock. The clock is 16× the data rate, and the DPLL is used to recover the receive clock. If necessary, the receiver and transmitter clocks can be output via parallel port pins.
1:0
00
The serial port interrupt is disabled.
01
The serial port uses Interrupt Priority 1.
10
The serial port uses Interrupt Priority 2.
11
The serial port uses Interrupt Priority 3.


Serial Port x Extended Register (SEER) (Address = 0x00CD)
(Asynchronous Mode Only) (SFER) (Address = 0x00DD

Bit(s)

Value

Description

7:5
000
Disable parity generation and checking.
001
This bit combination is reserved and should not be used.
010
This bit combination is reserved and should not be used.
011
This bit combination is reserved and should not be used.
100
Enable parity generation and checking with even parity.
101
Enable parity generation and checking with odd parity.
110
Enable parity generation and checking with space (always zero) parity.
111
Enable parity generation and checking with mark (always one) parity.
4
0
Normal asynchronous data encoding.
1
Enable RZI coding (3/16 bit cell IrDA-compliant).
3
0
Normal break operation. This option should be selected when address bits are expected.
1
Fast break termination. At the end of break, a dummy character is written to the buffer, and the receiver can start character assembly after one bit time.
2
0
Asynchronous clock is 16× data rate.
1
Asynchronous clock is 8× data rate.
1
0
Continue character assembly during break to allow timing the break condition.
1
Inhibit character assembly during break. One character (all zeros, with framing error) at start and one character (garbage) at completion.
0
This bit is ignored in the asynchronous mode.


Serial Port x Extended Register (SEER) (Address = 0x00CD)
(HDLC Mode Only) (SFER) (Address = 0x00DD)

Bit(s)

Value

Description

7:5
000
NRZ data encoding for HDLC receiver and transmitter.
010
NRZI data encoding for HDLC receiver and transmitter.
100
Biphase-level (Manchester) data encoding for HDLC receiver and transmitter.
110
Biphase-space data encoding for HDLC receiver and transmitter.
111
Biphase-mark data encoding for HDLC receiver and transmitter.
4
0
Normal HDLC data encoding.
1
Enable RZI coding (¼ bit cell IrDA-compliant). This mode can only be used with an internal clock and NRZ data encoding.
3
0
Idle line condition is flags.
1
Idle line condition is all ones.
2
0
Transmit flag on underrun.
1
Transmit abort on underrun.
1
0
Separate HDLC external receive and transmit clocks.
1
Combined HDLC external and transmit clock, from transmit clock pin.
0
This bit is ignored in HDLC mode.


Serial Port x Divider Low Register (SEDLR) (Address = 0x00CE)
(SFDLR) (Address = 0x00DE)

Bit(s)

Value

Description

7:0
Eight LSBs of the divider that generates the serial clock for this channel. This divider is not used unless the MSB of the corresponding SxDHR is set to one.


Serial Port x Divider High Register (SEDHR) (Address = 0x00CF)
(SFDHR) (Address = 0x00DF)

Bit(s)

Value

Description

7
0
Disable the serial port divider and use the output of Timer A to clock the serial port.
1
Enable the serial port divider, and use its output to clock the serial port. The serial port divider counts modulo n + 1 and is clocked by the peripheral clock.
6:0
Seven MSBs of the divider that generates the serial clock for this channel.



Rabbit Semiconductor
www.rabbit.com
PREV INDEX NEXT